
关于易博ebet
公司简介
企业文化
资质荣誉
组织机构
产品中心
闸阀
Z41W法兰闸阀
Z45H 暗杆闸阀
Z41H-16C铸钢法兰闸阀
蝶阀
D373H涡轮对夹金属蝶阀
D71X不锈钢对夹式蝶阀
卫生级蝶阀
止回阀
H41H铸钢升降式法兰止回阀
H41W不锈钢升降式止回阀
水力控制阀
100X遥控浮球阀
SP45F数字锁定静态平衡阀
JM744X隔膜快开排泥阀
过滤器
GL41P不锈钢Y型过滤器
截止阀
电站焊接截止阀
J41B 氨用截止阀
减压阀
Y42X 减压阀
排气阀
SCAR复合式污水排气阀
CARX复合式排气阀(空气阀)
隔膜阀
G49J三通衬胶隔膜阀
工程案例
易博ebet新闻
新闻动态
技术资讯
易博eBET官方网站
易博eBET中国官方网站
合作代理
联系我们

产品描述:
GL41P不锈钢Y型过滤器原理作用:
过滤器公司的过滤器是输送介质的管道系列不可缺少的一种装置,易博ebet通常安装在减压阀、泄压阀、定水位阀或其它设备的进口端,用来消除介质中的杂质,以保护阀门及设备的正常使用。该法兰式Y型过滤器具有结构先进,阻力小,排污方便等特点。法兰式Y型过滤器适用介质可为水,油、气。可按用户要求制作滤网,其外型基本相同(Y型),内部件全部采用不锈钢,坚固耐用。当需要清洗时,只要将可拆卸的滤筒取出,去除滤出的杂质后,重新装入即可,使用维护方便。
过滤精度可由滤网的大小来控制,过滤面积可定做。Y型过滤器一般通水网为18-30目/cm2,通气网为40-100目/cm2,通油网为100-300目/cm2。过滤器会产生阻力损失,易博ebet水用过滤器在一般计算额定流速下,压力损失为0.52~1.2kpa。
GL41P不锈钢Y型过滤器性能特点:
①结构简单,可靠性强;
②拆装方便,易清洗、维护;
③滤网规格多,满足不同场合过滤要求。
GL41P不锈钢Y型过滤器技术参数:
公称通径 | DN15-DN500 | 公称压力 | 1.6Mpa-6.4Mpa |
适用温度 | -30℃~400℃ | 适用介质 | 水、油品、蒸汽 |
不锈钢丝网的技术特性
孔目数目(英寸) | 丝径(mm) | 可拦截的粒径(μm) | 有效面积(%) | 孔目数目(英寸) | 丝径(mm) | 可拦截的粒径(μm) | 有效面积(%) |
10 | 0.508 | 2032 | 64 | 30 | 0.234 | 614 | 53 |
12 | 0.457 | 1660 | 61 | 32 | 0.234 | 560 | 50 |
14 | 0.376 | 1438 | 63 | 36 | 0.234 | 472 | 46 |
16 | 0.315 | 1279 | 65 | 38 | 0.213 | 455 | 46 |
18 | 0.315 | 1096 | 61 | 40 | 0.193 | 442 | 49 |
20 | 0.315 | 955 | 57 | 50 | 0.152 | 356 | 50 |
22 | 0.273 | 882 | 59 | 60 | 0.122 | 301 | 51 |
24 | 0.273 | 785 | 56 | 80 | 0.102 | 216 | 47 |
26 | 0.234 | 743 | 59 | 100 | 0.081 | 173 | 46 |
28 | 0.234 | 673 | 56 | 120 | 0.081 | 131 | 38 |
筛网目数与粒径(μm)对照表
目数 | 微米 | 目数 | 微米 | 目数 | 微米 | 目数 | 微米 |
2.5 | 7925 | 12 | 1397 | 60 | 245 | 325 | 47 |
3 | 5880 | 14 | 1165 | 65 | 220 | 425 | 33 |
4 | 4599 | 16 | 991 | 80 | 198 | 500 | 25 |
5 | 3962 | 20 | 833 | 100 | 165 | 625 | 20 |
6 | 3327 | 24 | 701 | 110 | 150 | 800 | 15 |
7 | 2794 | 27 | 589 | 180 | 83 | 1250 | 10 |
8 | 2362 | 32 | 495 | 200 | 74 | 2500 | 5 |
9 | 1981 | 35 | 417 | 250 | 61 | 3250 | 2 |
10 | 1651 | 40 | 350 | 270 | 53 | 12500 | 1 |
GL41P不锈钢Y型过滤器部件材质:
阀体 | 不锈钢 | 过滤网 | 碳钢/不锈钢 |
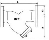
GL41P不锈钢Y型过滤器外形尺寸:

DN | "英寸 | L | H | H1 |
15 | 1/2 | 125 | 70 | 150 |
20 | 3/4 | 145 | 70 | 150 |
25 | 1 | 160 | 80 | 160 |
32 | 1 1/4 | 180 | 90 | 180 |
40 | 1 1/2 | 200 | 100 | 240 |
50 | 2 | 220 | 130 | 250 |
65 | 2 1/2 | 260 | 165 | 350 |
80 | 3 | 280 | 195 | 390 |
100 | 4 | 320 | 230 | 450 |
125 | 5 | 350 | 300 | 520 |
150 | 6 | 380 | 335 | 580 |
200 | 8 | 495 | 420 | 690 |
250 | 10 | 595 | 500 | 800 |
300 | 12 | 640 | 580 | 950 |
350 | 14 | 700 | 640 | 1150 |
400 | 16 | 800 | 700 | 1360 |
450 | 18 | 850 | 790 | 1480 |
500 | 20 | 900 | 875 | 1650 |
手机:13918861646
电话:021-33656988
网址:http://www.shanghaizhuoyue.com
地址:上海市奉贤区南奉公路易博ebet
底部二维码
手机官网