
关于易博ebet
公司简介
企业文化
资质荣誉
组织机构
产品中心
闸阀
Z41W法兰闸阀
Z45H 暗杆闸阀
Z41H-16C铸钢法兰闸阀
蝶阀
D373H涡轮对夹金属蝶阀
D71X不锈钢对夹式蝶阀
卫生级蝶阀
止回阀
H41H铸钢升降式法兰止回阀
H41W不锈钢升降式止回阀
水力控制阀
100X遥控浮球阀
SP45F数字锁定静态平衡阀
JM744X隔膜快开排泥阀
过滤器
GL41P不锈钢Y型过滤器
截止阀
电站焊接截止阀
J41B 氨用截止阀
减压阀
Y42X 减压阀
排气阀
SCAR复合式污水排气阀
CARX复合式排气阀(空气阀)
隔膜阀
G49J三通衬胶隔膜阀
工程案例
易博ebet新闻
新闻动态
技术资讯
易博eBET官方网站
易博eBET中国官方网站
合作代理
联系我们

产品描述:
D71X不锈钢对夹式蝶阀原理作用:
易博ebet蝶阀的启闭件是一个圆盘形的蝶板,在阀体内绕其自身的轴线旋转,从而达到启闭或调节的目的。蝶阀的优点有结构简单、体积小、重量轻、安装尺寸小、开关迅速。
D71X不锈钢对夹式蝶阀性能特点:
①小型轻便,容易拆装维修,可任意位置安装;
②结构简单,90°回转启闭迅速;
③操作扭矩小,省力轻巧;
④流量特性趋于直线,调节性能好。
D71X不锈钢对夹式蝶阀技术参数:
设计标准 | GB/T2238-1989 | |||
法兰连接尺寸 | GB/T9113.1-2000;GB/T9115.1-2000;JB78 | |||
结构长度 | GB/T12221-1989 | |||
压力试验 | GB/T13927-1992;JB/T9092-1999 | |||
公称通径 | DN(mm) | 50~200 | ||
公称压力 | PN(MPa) | 0.6 | 1.0 | 1.6 |
试验压力 | 强度试验 | 0.9 | 1.5 | 2.4 |
密封试验 | 0.66 | 1.1 | 1.76 | |
气密封试验 | 0.6 | 0.6 | 0.6 | |
D71X不锈钢对夹式蝶阀部件材质:
零件名称 | 材料 |
阀体 | 不锈钢 |
蝶板 | 铸钢、不锈钢及特殊材料 |
密封圈 | 各种橡胶、聚四氟 |
阀杆 | 2Cr13、不锈钢 |
填料 | O型圈、柔性石墨 |
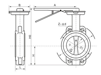
D71X不锈钢对夹式蝶阀外形尺寸:

公称通径 | 结构长度 | 外形尺寸(参考值) | 连接尺寸(标准值) | |||||||||
0.6MPa | 1.0MPa | 1.6MPa | ||||||||||
毫米 | 英寸 | L | H | H0 | A | B | D0 | n-d | D0 | n-d | D0 | n-d |
50 | 2 | 43 | 63 | 235 | 270 | 65 | 110 | 4-14 | 125 | 4-18 | 125 | 4-18 |
65 | 21/2 | 46 | 70 | 250 | 270 | 65 | 130 | 4-14 | 145 | 4-18 | 145 | 4-18 |
80 | 3 | 46 | 83 | 275 | 270 | 65 | 150 | 4-18 | 160 | 8-18 | 160 | 8-18 |
100 | 4 | 52 | 105 | 316 | 270 | 65 | 170 | 4-18 | 180 | 8-18 | 180 | 8-18 |
125 | 5 | 56 | 115 | 340 | 310 | 65 | 200 | 8-18 | 210 | 8-18 | 210 | 8-18 |
150 | 6 | 56 | 137 | 376 | 310 | 65 | 225 | 8-18 | 240 | 8-22 | 240 | 8-22 |
手机:13918861646
电话:021-33656988
网址:http://www.shanghaizhuoyue.com
地址:上海市奉贤区南奉公路易博ebet
底部二维码
手机官网